newmisctag
- Slim and refined lines in an under-cabinet convertible range hood for a refreshing change in today's kitchens
- Front-mounted, decorative rocker switches adjust fan speed and lighting levels
- Captur system and 300 Max Blower CFM is 97.4% efficient in removal of smoke and odor from cooking
- Convertible to accommodate either top or rear venting applications or non-ducted operation using charcoal filters, which are sold separately (Filter Model HPF30)
- 2 dishwasher-safe micro-mesh filters feature advanced high-flow technology to grab more airborne grease
- 2-halogen bulbs, included, provide warm light over the cooking surface, adjustable to high or low levels
- EZ1 system enables easy single-person installation in up to half the time of traditional methods
- 1-year limited manufacturer's warranty
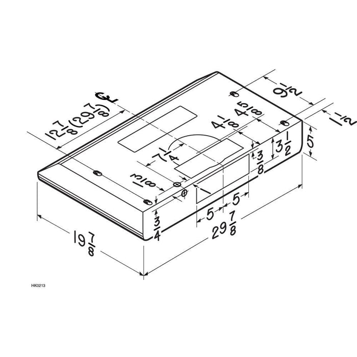
- Range hood is installed as hardwired or with an optional power cord kit (SHCK44; sold separately)
Download Spec Sheet
Download Installation Guide
Broan Nutone BKSH130SS Sahale BKSH1-Series 30" Under Cabinet 300 Max Blower CFM 5.0 Sones Stainless Steel Range Hood
No tax outside of CA and PA!
Frequently Asked Questions
• What if my order arrives damaged?
While we take great care in the packaging and handling of orders, we ask that customers inspect all shipments within 48 hours of delivery, and in the rare event that your order arrives damaged, please send us an email with a photo showing the damages (so we can file a claim with the carrier), and let us know whether you prefer a free replacement or a refund.
• What if I need to return something?
We accept returns within 30 days of delivery. Customers are responsible for return shipping unless we sent the wrong item, the product is defective, or it was damaged during transit. All returns are subject to a 15% restocking fee unless we sent the wrong item, the product is defective, or it was damaged during transit. The restocking fee is what we get charged by the manufacturer – it is not to discourage returns. To return an item, email us, and we'll guide you through the process.
• Why do you ask for phone numbers during checkout?
Some shipping carriers, especially those handling freight, require a phone number to coordinate your delivery. We respect your privacy and guarantee that any information you provide will never be shared with third parties, except for shipping purposes.
This under-cabinet convertible range hood combines refined lines with a slim profile to bring a refreshing change to contemporary kitchens. Equipped with the exclusive Broan Captur system, which combines advanced blower design with new filter technology, this 300 Max Blower CFM-rated hood provides 97.4% removal of smoke and odor to protect your home and family from airborne pollutants caused from cooking.
The quiet-running Sahale is also designed with smooth flow technology, which streamlines the path of air for improved efficiency and noise reduction. Decorative rocker switches control the 2 fan speeds and halogen lighting system. Using the included EZ1 system, Sahale can easily be installed by one person in up to half the time of a standard install.
| Filter Type | Micro Mesh |
|---|---|
| Heat Sentry | No |
| HVI Certified | Yes |
| Lighting Type | Halogen |
| Sound Level (Sones) | 1.5 |
| UL Listed | Yes |
| ADA Compliance | Yes |
| Damper Included | No |